工业设备、工业展台、电气测试设备、医疗设备、机器人、测试仪器、转台、自动化设备等;
产品等级选型表 | |||
产品等级代号 | 最高转速 | 工作寿命 | 密封件 |
VC(通用级) | 100RPM | 1000万转 | 国内知名品牌密封件 |
VD(工业级) | 300RPM | 3000万转 | 进口密封件 |
技术规格参数 | ||||
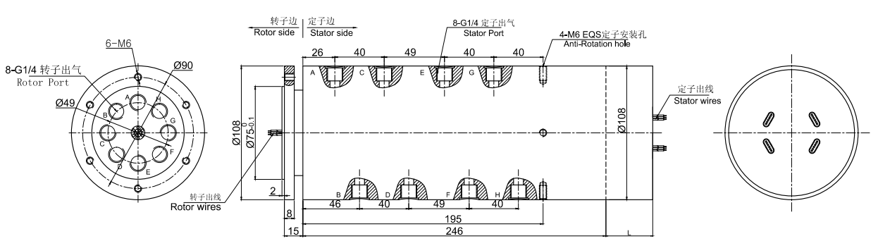
旋转接头部分技术指标 | 机械技术指标 | |||
参数 | 数值 | 参数 | 数值 | |
通道数 | 8进8出 | 工作寿命 | 参考产品选型等级 | |
最大压力 | 10MPa (可定制高压),真空 0.01torr | 额定转速 | 参考产品选型等级 | |
扭矩 | 与接口尺寸相关,详细咨询技术 | 工作温度 | -30℃~80℃ | |
电气技术指标 | 工作湿度 | 0~85% RH | ||
参数 | 数值 | 接触材料 | 贵金属 | |
功率 | 信号 | 壳体材料 | 铝合金 | |
额定电压 | 0~440VAC/VDC | 0~440VAC/VDC | 防护等级 | IP51 |
绝缘电阻 | ≥1000MΩ/500VDC | ≥1000MΩ/500VDC | ||
导线规格 | AWG17#镀锡铁氟龙 | AWG22#镀锡铁氟龙 | ||
导线长度 | 标准长度300mm(可据要求调整) | |||
绝缘强度 | 500VAC@50Hz,60s | |||
动态电阻变化值 | <0.01Ω |
经过多年的经验积累,K8凯发国际拥有20万多个产品3D图档数据库,
由于互联网的开放性和同行竞争,需要产品3D图档的客户请留下电子邮箱或者QQ。
审核完联系方式后,我们的系统将在5分钟内把3D自动发动到您的电子邮箱!